콘텐츠로 건너뛰기
재질표 (Material index)
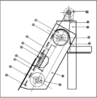
| NO |
구분 |
규격 |
재질 |
NO |
구분 |
규격 |
재질 |
| 1 |
CHAIN GEAR |
RS#60 |
|
9 |
BAR BRACKER |
|
STS 304 |
| 2 |
HEAD BEARING |
UCA 205 |
|
10 |
FRAME |
1.5T |
STS 304 |
| 3 |
CHAIN RAIL |
|
STS 304 |
11 |
UCFL BEARING |
|
STS 304 |
| 4 |
ROUND BAR |
Φ6 |
STS 304 |
12 |
BAR BRACKET |
|
STS 304 |
| 5 |
RAKE |
20×45 |
STS 304 |
13 |
SHAFT |
Φ30 |
STS 304 |
| 6 |
STAY BAR |
|
STS 304 |
14 |
MOTOR BASE |
|
STS 304 |
| 7 |
MAIN CHAIN |
RS#60 |
STS 304 |
15 |
DRIVE CHAIN |
RS#40 |
|
| 8 |
RUBBER |
|
|
16 |
GEARED MOTOR |
0.4kw |
|
외형치수표 (Dimension)
[단위:mm]
| MODEL |
A |
B |
C |
D |
E |
F |
G |
H |
동력 |
| HS-400L |
920 |
950 |
1,050 |
380 |
400 |
270 |
465 |
500-600 |
0.4kw |
| HS-400H |
1,140 |
1,050 |
1,250 |
540 |
400 |
270 |
465 |
500-600 |
0.4kw |
| HS-500L |
920 |
950 |
1,050 |
380 |
500 |
350 |
570 |
700-800 |
0.4kw |
| HS-500H |
1,140 |
1,050 |
1,250 |
540 |
500 |
350 |
570 |
700-800 |
0.4kw |
용량 (Capacity)
[단위:㎥Hr]
| MODEL |
간극
5mm |
간극
10mm |
간극
15mm |
MODEL |
간극
5mm |
간극
10mm |
간극
15mm |
| HS-400L |
30~40 |
50~60 |
60~80 |
HS-500L |
60~140 |
70~160 |
80~180 |
| HS-400H |
40~50 |
50~60 |
70~120 |
HS-500H |
70~170 |
80~170 |
90~190 |